このEmailを読めない場合、
ここをクリックしてください
No.126 Sept.28, 2016
 
購読   
 
連絡先 
集佳知識産権代理有限公司
7Th/8Th/11Th Floor,
Scitech Place, 22 Jianguo Menwai Ave.,Beijing 100004,P.R.China
北京建国門外大街22号
賽特広場七/八/十一階
郵便番号:100004


T: +8610 59208888
F: +8610 85110966
85110968
Web:www.unitalen.com
E-mail:mail@unitalen.com
 
安徽黄山
 
目 録
ニュース
中国最高人民法院:インターネット公開裁判文書最新規定
商標局:第3回「類似商品および役務区分表」以外で受理可能な商品・役務の名称(計720項目)
国連報告:中国が世界最大のインターネット市場に
注目判決
集佳の弁護士が代理した「永久磁石の浮上技術」の特許権侵害訴訟で勝訴
網元聖唐公司が菲音公司、奇虎公司を訴えた商標権侵害紛争事件
中国貴州茅台酒廠(集団)有限責任公司が深セン市漢栄世紀実業有限公司、深セン市金尊酒業有限公司を訴えた商標権侵害紛争事件
集佳の最新動向
企業の知的財産権発展、多方面に焦点――集佳第12回知的財産フォーラム、成功裏に開催
 
 
ニュース

 
中国最高人民法院:インターネット公開裁判文書最新規定

 

  中国最高人民法院は記者会見を行い、「最高人民法院関於在互聯網公裁判文書的規定(人民法院のインターネット上での裁判文書の公開に関する最高人民法院の規定」(改訂)について説明を行った。主な内容は、中国裁判文書ネットAPPの投入、および人民法院裁判文書公開業務の関連状況を公表し、記者の質問に答えるものであった。

  今回の改訂では、「公開を原則とし、非公開を例外とする」という趣旨に基づき、「法に従い、全面的な、速やかな、規範化された」裁判文書公開の原則が確立された。明確に公開すべきでない内容を除いて、人民法院はあらゆる裁判文書を中国裁判文書ネットに公開しなければならず、これにより制度の面から裁判文書の公開業務に死角を残さないことを確実に保証する。(出典:中国知識産権ウェブサイト)

 
商標局:第3回「類似商品および役務区分表」以外で受理可能な商品・役務の名称(計720項目)

 

  先ごろ、商標局は3回目の「類似商品および役務区分表」以外で受理可能な商品・役務の名称の公表に関する通告を発表した。商標登録の簡素化を推進するため、商標の公共サービス水準を高め、出願人がオンライン上で商標登録について検索および出願ができるよう便宜を図る。確定済みの「類似商品および役務区分表」のほか、3回目の受理可能な商品・役務の名称720項目を公表する予定である。

  (出典:国家工商行政管理総局商標局)

  集佳律師事務所では計3回の受理可能な商品の日本語訳を作成いたしました。必要な方は弊所までご連絡ください。メールアドレス:tm-jp@unitalen.com

 
国連報告:中国が世界最大のインターネット市場に

 
   

  先ごろ、国連ブロードバンド委員会は最新の「2016年ブロードバンドの現状」と題する報告を発表した。それによると、中国は7億2,100万のインターネット利用者により世界一のインターネット市場となった。

  統計によると、近年、中国は引き続き電子商取引の知的財産権保護を強化しており、電子商取引関連産業は急速に発展し、次第に新たな経済成長ポイントとなりつつある。2015年、中国の電子商取引貿易額は、18兆3,000億元で、前年同期比36.5%増であった。国連の報告によると、2016年末までにインターネット利用者は35億人となると見られ、その数は前年の32億人を上回り、世界の人口の47%に相当する。(出典:中国知識産権報)

 
注目判決

 
集佳の弁護士が代理した「永久磁石の浮上技術」の特許権侵害訴訟で勝訴

 

  事件の概要

  「磁気浮上技術」は「同極は反発し、異極は引き合う」という特性をうまく利用した、磁力によって重力を克服し、物体を浮上させる技術である。現在全部で3種類の「磁気浮上技術」があると言われている。第1に、ドイツに代表される「常電導磁気浮上」技術が、第2に、日本に代表される「超電導磁気浮上技術」がある。この2種類の磁気浮上はいずれも電力を用いて動力を生み出す必要がある。しかし、第3の、即ち中国の永久磁石浮上技術は、特殊な永久磁石材料を利用し、他のいかなる動力も必要としない。

  広東省肇慶市衡芸実業有限公司(以下、「原告」)は特許番号200610065336.1の特許を取得し、それぞれ全国規模で10余件の特許権利保護訴訟を展開して勝訴を勝ち取ってきた。

  2015年7月27日、原告は杭州市中級人民法院に対し、深セン市宏鑫拓普電子科技有限公司(被告)がアリババプラットフォーム、T-mall(天猫)において被疑侵害製品を大量に販売したとして、50万人民元および権利保護に要した合理的費用の賠償を請求する訴えを起こした。

  アリババ社は次のように弁明した。(1)アリババはインターネットサービスを提供する企業であり、「侵権責任法(権利侵害責任法)」第36条第2項の規定に基づき免責されるべきである。(2)原告が発送した弁護士書簡において被告である売り手が特許権を侵害したことを証明していない。(3)特に、係争特許は内部構造の特許に属し、被告である売り手は写真をアップロードしただけで、アリババは権利侵害の審査基準を備えていないため、権利侵害か否かを判断することはできない。

  被告は北京市集佳律師事務所の武樹辰弁護士、李洪江弁護士に出廷、応訴を依頼し、次の4点について抗弁した。(1)CN729614Aの先行技術について抗弁する。(2)禁反言の原則について抗弁する。その理由は、無効審判の手続きにおいて、原告は特許権者として、意見陳述において係争特許の請求項の保護範囲を自発的に縮小したからである。すなわち、「当該磁気浮上体は電磁誘導浮上体ではなく、永久磁石浮上体である」としている。(3)請求項の保護範囲の解釈は「一つの環状永久磁石」に限定されるべきである。係争特許は「含む」とする開放式請求項が用いられ、その技術方案を限定しているものの、「開放式請求項について」は請求項1における「単一磁性、一つの環状永久磁石を含む」を「一つまたは複数の磁性、環状永久磁石」と解釈するということを意味するのではない。実際に、請求項1は「単一磁性、一つの環状永久磁石」を限定するだけでなく、「該環状永久磁石上の環状の表面の磁性と前記の磁気浮上体の下の磁性の端の磁性の反発」も限定している。もし「単一磁性、一つの環状永久磁石」を「一つ又は複数の」と理解したなら、「多くの環状永久磁石上の環状の表面の磁性と前記複数の磁気浮上体の下の磁性の端の磁性の反発」が現れるが、これらの技術方案は係争特許の明細書および図面に記載されていないだけでなく、技術的特徴における相互矛盾の状況が現れる。このため、「一つの環状永久磁石」について「一つまたは複数を含む」と解釈するべきであるという理解は支持できない。(4)請求項1における「浮上体水平運動制御装置は前記台座内に設けられ、前記台座の上方に浮上する前記磁気浮上体が水平方向において前記の基準位置を離れるとき、前記磁気浮上体を制御し、前記基準位置に戻るよう制御する」という技術的特徴は、「機能的限定」であり、「司法解釈1」第4条の規定に基づき、明細書と図面の描写による該機能または効果の具体的な実施形態およびそれと同等の実施形態を組み合わせて、当該技術的特徴の内容を確定すべきである。

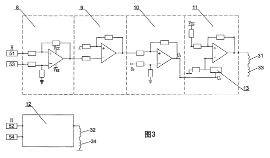
  係争特許の明細書には唯一の「具体的な実施形態」が記述されている。すなわち、浮上体水平運動制御装置は以下を含む。①帯鉄芯の4つのコイル31、32、33、34。②4つのホール素子センサー(磁性センサー)51、52、53、54。2組に分かれそれぞれ2組のコイルを制御する。さらに、浮上体のX、Y方向の自由な移動を制御する。③台座内に制御回路板6が設けられ、完全に同一で相対し独立した制御回路12からなる。④制御回路12も具体的な実施形態が一つのみが記述されており、センサーの電圧が減算回路8に接続し(電圧値の測定)、増幅回路9(シグナルの増幅)を経て、減算回路10の基準電圧U0と比較を行い、増幅回路まで出力する。出力電圧が0でないとき、励磁電流の調整を行う。以下の図のとおりである。  

 

   しかし、提訴された被疑侵害製品の技術方案については、原告が自身の「立証責任」(司法鑑定)の行使を怠った前提において、根本的に比較照合の対象がない。

  コメント:

  2016年8月24日、杭州市中級人民法院は次のとおり一審判決を言い渡した。原告の訴訟請求をすべて却下する。案件受理費は、原告がすべて負担するものとする。具体的理由は次の通りである。特許侵害訴訟において、原告は特許侵害の事実の成立を証明する立証責任を負うべきであるが、被疑侵害製品が原告の主張する請求項に記載されたすべての技術的特徴と同一または同等の技術的特徴を有することが特許侵害の事実成立の前提である。原告は鑑定費用が高額であるとして「司法鑑定申請」を自発的に撤回し、「専門家の補助員」の申請を撤回したことにより、機能的限定の技術的特徴において一つひとつ比較照合を行うことができないという前提において、被疑侵害製品が係争特許の保護範囲に入るか否かを判定することはできない。以上により、原告の同一の特許侵害の主張は成立しない。

 
 
網元聖唐公司が菲音公司、奇虎公司を訴えた商標権侵害紛争事件

 

  事件の概要:

  上訴人(原審原告):北京網元聖唐娯楽科技有限公司(以下、「網元聖唐公司」)

  被上訴人(原審被告):広州菲音信息科技有限公司(以下、「菲音公司」)

  被上訴人(原審被告):北京奇虎科技有限公司(以下、「奇虎公司」)

  係争商標「古剣」、「古剣奇譚」はいずれも色を指定した文字商標で、第9類のコンピューターソフトウェア(ダウンロード済み)および第41類の(コンピューターネットワーク上の)オンラインゲーム製品を指定商品として登録されており、網元聖唐公司がこれら2つの文字商標の使用権、権利侵害行為の停止に関連する権利を取得した後、菲音公司が開発し奇虎公司が運営するオンラインゲームの「古剣奇侠」という名称が商標権を侵害しているとして法院に訴えた。原審法院は、権利侵害で訴えられた「古剣奇侠」という名称と「古剣奇譚」、「古剣」の商標は、客観的に見て同一または類似を構成しておらず、また「古剣奇譚」と「古剣奇侠」のゲームのプレイヤーの両者に対する混同を生じさせるに足らないとして、網元聖唐公司の請求を棄却した。網元聖唐公司はこれを不服として上訴した。広州知識産権法院の二審では、権利侵害で訴えられたゲームの名称が指す製品およびサービスと、係争登録商標「古剣」、「古剣奇譚」の指定商品の類別が同一であるため、権利侵害で訴えられたゲームの名称と係争商標が同一または類似しているか否かについてさらなる比較が行われた。ゲーム名称の「古剣奇侠」と登録商標「古剣」、「古剣奇譚」の比較を行ったところ、両者は文字の形、配列、図形外観および色の組合せにおいて明確な区別があり、とりわけフォントのデザイン、指定の色、文字の配列方法および背景のレンダリングなどの組合せから成る全体の視覚的な違いが比較的明らかであり、関連公衆の一般的な消費習慣や認知能力に基づいて両者が同一のシリーズを出所とすると連想するには至らないと判断した。以上により、二審では網元聖唐公司の上訴を棄却し、一審判決を支持する判決が下された。

  コメント:

  商標は、商品や役務に使用され、それらの出所を識別するために用いられるもので、際立った特徴を備えた標識であり、商標法における権利侵害を構成する前提としては、権利侵害者の行為が商標的使用である必要がある。改正商標法実施条例第76条は、登録商標と同一または類似の商標を商品名に使用し、かつ消費者を誤った方向に導く行為が商標権の侵害として規定されているが、商標の標識を商品名に使用すること自体が商標的使用に当たるか否かについては意見が分かれるところだ。商品の名称とは、他の商品と区別するために用いる呼称であり、重要なことは、商品の質や機能、用途などの特徴を概括し、当該種類の商品と他の商品を互いに区別しているということである。商品名の文字の構成には主に2種類ある。1つは商品の品質、特徴、機能、用途などを表す文字で、もう1つは造られた字句であるが何度も繰り返し使用するうちに当該商品の名称となるという字句である。前者の種類で商標として使用する場合、正当な使用の状況が存在し、後者の種類で商用として使用する場合、普通名称の状況が存在する。このため、商品名と商標が重複している場合、上述のような状況は、商標権の侵害を構成するか否かについて影響を及ぼすこととなる。この点について、最高人民法院は(2008)民三他字第12号書簡「遠航科技有限公司と騰訊計算機有限公司らの商標権侵害および不正競争に関する事件に対する回答」において、一定の地域内の関連公衆の間ですでに定着しているポーカーゲームという名称は、当事者がそれを商品または役務の出所を区別するためではなく、単にそれを当該ゲームの内容、特徴を表すために用いた場合、正当な使用と判断することができると指摘している。一般的に言うと、ゲームの名称のうち、文字のデザイン、配列、色などの視覚的要素の変化は、その異なるゲームの機能の区別に影響を及ぼさないが、文字商標について言うと、そのデザイン、配列・組合せ、色などの視覚要素に対して独特の配置を作り出し、当該文字商標の保護範囲を表す上である程度制限されることになる。この種の商標権侵害事件の判定において、上述の視覚的効果の違いを考慮しなければ、商標権者が不当に相応する文字を独占することになり、商標権者と一般公衆との利益のバランスを崩してしまう。このほかにも、ゲーム製品にとって、遊び方の要点、システム、外観は、そのゲームの核心的要素で、他のゲームと区別する主要な要素となる。関連公衆について言えば、2種類のゲームの遊び方、システム、外観などの面で違いが存在する場合、関連公衆とするゲームプレイヤーに混同を生じさせるということは考えにくい。

 
 
中国貴州茅台酒廠(集団)有限責任公司が深セン市漢栄世紀実業有限公司、深セン市金尊酒業有限公司を訴えた商標権侵害紛争事件

 

  事件の概要:

  原告は第3159143号登録商標「色指定」および第3159141号登録商標「貴州茅台」の所有者である。両被告は原告から承認を受けずに、「茅台万元創業計画」と題して、深セン、西安、成都などで「中国共産主義青年団創業中国茅台創業連盟深セン始動大会」などの活動を実施し、前述の2件の登録商標を使用して茅台原酒を小瓶で販売した。また、被告である深セン市漢栄世紀実業有限公司の公式サイト、深セン財経生活チャンネル、深セン移動チャンネルおよび全国の多くの主要サイトで宣伝、報道した。

  法院は、両被告は偽の登録商標の商品を販売してはいないものの、関係するサイト、カラー広告、従業員の名詞、創業者特約代理販売合意書、および全国各地の発表会や各大手テレビ局、主要ネットサイトの関連報道において、大量に図形や「貴州茅台集団」の文字、「貴州茅台酒」の図上の商標を使用しており、その行為は商標の使用に当たる。故に両被告が原告から承認を受けずに登録商標を使用した行為は原告の商標権を侵害しており、法により賠償すべきであると判断した。

  コメント:

  本事件は、ある種特殊な商標権侵害行為のパターンにかかわる。「中華人民共和国商標法」第48条では、商標の使用とは、商標を商品、商品の包装若しくは容器及び商品の取引文書において又は広告宣伝、展示若しくはその他の商業活動において、その商品の出所を区別するために使用する行為をいうと規定されている。商標を使用する限りは、必ず権利者から承認または許可を得なければならず、そうしなければ商標権の侵害を構成する。このため、本事件で両被告は偽の登録商標の茅台酒の販売は行っていないものの、原告から承認または許可を得ていないという前提において、貴州茅台の知名度を利用し、原告が商標権を持つ2つの登録商標を使用して、いわゆる「茅台万元創業計画」を大々的に宣伝するとともに、別の商品を販売したことは、商標権の侵害行為を構成するものであり、社会に悪影響を与え、権利者の信用を大きく損ねることになる。

 
集佳の最新動向

 
企業の知的財産権発展、多方面に焦点――集佳第12回知的財産フォーラム、成功裏に開催

 

  9月22、23の両日、第12回集佳知的財産権フォーラムが北京好苑建国酒店で盛大に開催され。今回のフォーラムは、北京知識産権研究会、北京商標協会、集佳知識産権代理有限公司、北京集佳法律事務所が共催し、全国の各業界から150名余りの知財関係者が参加した。

  フォーラムは熱気に溢れた雰囲気の中で始まり、出席した北京知識産権研究会の辺力事務局長、北京商標協会の趙暁艦事務局長が出席、それぞれあいさつを述べた。両指導者は企業がフォーラムを通じてそれぞれが知的財産権戦略において必要としていることや、知的財産権を堅固に防御し保護する盾を得てほしいと考えており、実際に専門家の講演からは収穫があった。

  今回のフォーラムでは、知的財産権関連の裁判官や商標評審委員会のベテラン専門家らを招き、それら権威者が条文の解説や司法解釈を行ったほか、企業の声に熱心に耳を傾け、企業が抱える知的財産に関する問題で最も有効な法律の運用方法を指導した。  

 

  特筆すべきは、世界に名だたる家電メーカーであるハイアール集団の知的財産部門責任者である王建国氏が、フォーラムにおいて熱意をもって自身の知的財産管理の経験や独自性のある見解、革新的な観点を披露し、参加した代表たちの好評を得たことである。

  北京集慧智佳知識産権管理諮詢股份公司の林志峰高級コンサルタントは「専利の運営と価値向上」と題し、国内外に目を向け、いかにして専利をより有効的にするかという点について、会場内の同業者らと掘り下げた議論を交わした。講演は終始和やかながらも活発な雰囲気の中で行われ、参加者らにIP管理の新鮮な風を吹き込んだ。

  フォーラムの主催者代表として、集佳からはパートナーでありベテランの盧錦文知財権顧問が「海外特許ポートフォリオ」と題して講演を行った。特許の概念から始まり、特許の持つリスクや戦略にまで説き及んだ。会場からの問題提起や参加者らの関連する問題に対する深い考察もあり、海外特許ポートフォリオに対し、さらに深く合理的な知識を一同にもたらした。

  1日半に及ぶフォーラムの講座において、参加者らは業界の実力者と交流し学ぶ機会の大切さを感じながら、先を争うように質問した。参加者が共通して抱いた感想は、フォーラムの内容が豊富かつ実用的、テーマが深く、よく練られているといったもので、もっと続けたい、来賓とさらに交流し、関連する問題についてさらに深く討議したいとの声が多くあがった。

  今回の集まりのため、多くの参加者が各種の交通機関を利用して遠路はるばる集まって来られた。この真心に我々は大いに感動させられ、皆様の誠意に応えるため、集佳は企業のニーズを十分に考慮して講座の内容を決めただけでなく、こだわり抜いた特別なイベントの入念な準備も行った。「老舎茶館の茶を味わい、北京の文化をめでる」という活動では、お茶を楽しんだり多彩なプログラムを楽しんだりするなかで、疲れを癒し、友人たちとの交流をさらにリラックスして楽しいものにした。

  業界内で最も早く立ち上げられた知的財産フォーラムとして、集佳フォーラムはもはや一つの伝統になったかのようで、1年また1年と続いている。我々は限られた集いの時間の中、顧客の皆様が学び、討論、交流が一体となった温かく盛大な会を楽しんでいただけることを望んでいる。また、業界の精鋭に、ともに学ぶ喜びを感じていただきたいと考えている。我々は企業実務に専心し、フォーラムの中で手を携えて企業が直面する問題の解決に取り組んでいくとともに、業界の発展を深く観察し、企業の知的財産発展のための遠大な計画について、ともに議論していきたいと考えている。